Ridgeline - ID Holder
A Mobile Data Terminal (MDT) Laptop ID Holder designed to securely hold a person’s ID during a traffic stop, making it easier for officers to retrieve information while keeping their hands free.
-
During a traffic stop, officers must manage multiple tasks while maintaining situational awareness, operating their MDT, and securely handling a civilian’s identification. Ridgeline is a purpose-built MDT-mounted ID holder that keeps a person’s ID securely in place, visible, and accessible—without occupying an officer’s hands or workspace.
-
This product was developed through a problem-first design approach rooted in real-world law enforcement workflows. Instead of creating another accessory for the sake of convenience, the focus was placed on reducing friction during a critical moment—the traffic stop.
Key considerations during the process included:
Officer movement and reach while seated in the patrol vehicle
Visibility and accessibility of identification while typing
Non-intrusive mounting that doesn’t interfere with the MDT screen or keyboard
Durability and ease of cleaning
The result is a simple, intentional design that integrates naturally into existing patrol setups.
-
Industrial Designer and Design Researcher
The Problem
Currently, officers commonly place IDs:
On the MDT keyboard
In cup holders
On dashboards
Or loosely on paperwork stacks
These methods can lead to:
Slower information retrieval
Increased distraction
Misplaced or dropped IDs
Reduced situational awareness
How Might We…
How might we create a simple, non-distracting way for officers to securely hold a person’s ID during a traffic stop—without disrupting workflow or requiring additional hand movement?
This question guided every design decision.
Ideation
The idea was to create a compact, MDT-mounted ID holder that:
Securely holds standard IDs and driver’s licenses
Keeps the ID within the officer’s natural line of sight
Allows quick insertion and removal with one hand
Mounts without permanent modification
The solution needed to feel like it belonged on the MDT—not an afterthought.
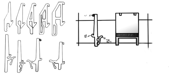
Evaluation - Prototyping & User Testing
Prototypes were 3D printed in PETG for its:
Heat resistance in vehicles
Durability
Slight flexibility for secure clipping
Test fitting evaluated:
Grip strength on MDT
Card retention during vehicle movement
One-handed usability
Feedback emphasized the importance of:
A firm hold without excessive force
Fast ID retrieval
A low-profile design
These insights informed refinements to the clip tension and ID slot geometry.
Design Solution
The Ridgeline ID Dock offers a clean and reliable solution that integrates seamlessly into an officer’s workflow.
How it solves the problem:
Keeps IDs visible and secure during data entry
Reduces clutter on the MDT and dashboard
Allows officers to keep their hands free and attention forward
Installs in seconds without tools
In Context:
Mounted directly to the MDT, the ID Dock places identification exactly where it’s needed—no reaching, no searching, no distraction.
Future Improvements:
Development of a universal clip system to accommodate a wider range of MDTs and laptop models
Alternative mounting orientations for different patrol vehicle layouts
Optional retention variants for cards with sleeves or thicker IDs

